Copyright ? 2026(投资有风险,入市需谨慎) 股市风险起伏变幻莫测,提醒投资者需谨慎操作!
估值在“地板上摩擦”,钱存银行还是买银行股?
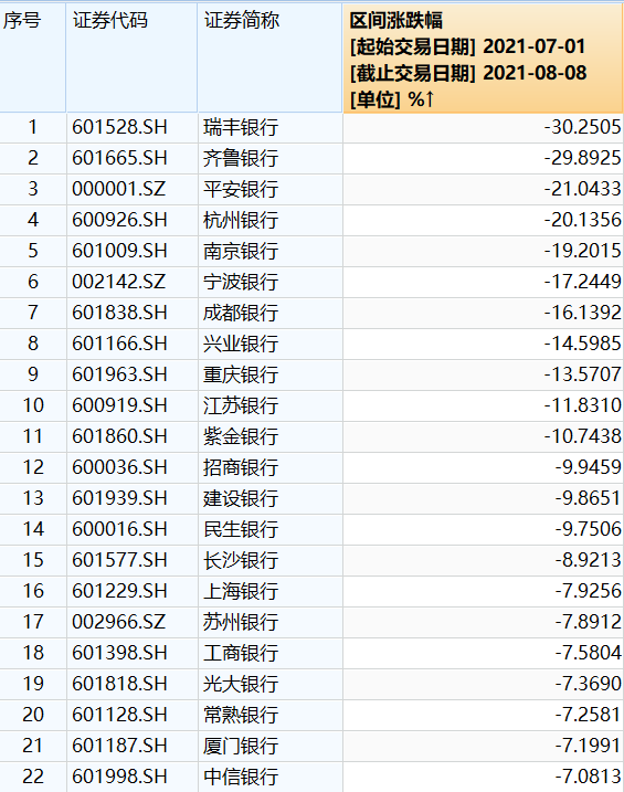
银行股投资者这段时间心里不太好受。Wind数据显示,7月1日以来,申万银行指数累计下跌12.57%。

图片来源:Wind
7月1日以来,银行股跌幅排名靠前的除瑞丰银行、齐鲁银行两只次新股外,还有多只机构相对看好的股票,如平安银行、南京银行、宁波银行、兴业银行、江苏银行,7月1日以来分别下跌了21.04%、19.20%、17.25%、14.60%、11.83%。“银行茅”招商银行跌幅也接近10%。

图片来源:Wind
估值方面,目前40只银行股中,已有33只破净,占比达82.5%。其中,民生银行、华夏银行市净率甚至不到0.4,估值可谓已跌到“地板上”。

图片来源:Wind
不仅如此,Wind数据显示,截至二季度末,主动型权益基金重仓的A股银行股合计53.58亿股,较一季度末减少19.55亿股。另据兴业证券统计,今年二季度,公募基金行业标配比例下降幅度靠前的分别是银行、非银金融、家电。
值得一提的是,近期银行股的下跌发生在“降准”利好背景之下。招商证券银行业首席分析师廖志明认为,“降准”虽对银行负债成本形成利好,但贷款利率可能维持低位,因此银行可能将保持合理的息差水平,总体上影响偏中性。另外,近期新能源、半导体等板块行情火爆,对市场资金产生“虹吸效应”,加速银行板块资金流出。
不过,也有积极的信号出现。中证君发现,仍有部分基金加仓银行股。例如,明星基金经理谢治宇管理的兴全合润二季度加仓平安银行1836.16万股,加仓兴业银行251.57万股。张坤管理的易方达优质企业三年持有混合型基金也在今年二季度买入平安银行1500万股。
近日,多只银行ETF总体呈现资金净流入。此外,今年以来已有多家A股上市银行触发稳定股价条件,还有不少银行股东、董事及高管在二级市场以自有资金自愿增持自家股票。
那钱存银行和买银行股,到底哪个更划算?随着银行股“跌跌不休”,不少投资者有了如此灵魂发问。当然,不能简单比较。
仅从银行理财收益率和银行股股息率对比来看,目前普通银行理财产品的收益率多在3%-3.5%,相比之下,从2020年度的现金分红情况来看,多数银行股息率超过银行理财产品。
对于银行股的投资机会,中泰证券认为,优质银行景气上行是确定和长期的。一是优质银行具有“市场化基因”,在“躺着挣钱”的行业里“跑着赚钱”,决定这些银行客户选择能力更强,转型更快,其成长性可以永续估值。二是这些银行占据了金融行业的朝阳赛道,即财富管理和零售。
光大证券认为,下半年银行股业绩与估值将延续“强者恒强”特征,配置策略为“优质股份行打底+重点城商行博收益增强”。
但也有不少机构认为,银行股未来上涨空间有限,估值很难大幅提升。
关注微信公众号












